Лайфхаки

Маленькие, полезные хитрости

BMW предпринимает шаги, чтобы владельцы не могли самостоятельно ремонтировать свои автомобили.

23.12.2025 в 16:24

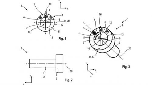
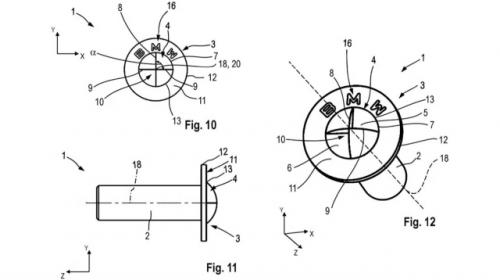
Компания запатентовала специальные винты с головкой в форме логотипа, которые невозможно открутить стандартными инструментами.
Доступ к таким креплениям, расположенным в салоне и на ключевых узлах вроде сидений или элементов кузова, получают фактически только официальные дилеры. В результате самостоятельный ремонт или обслуживание в независимых сервисах оказывается сильно ограниченным.
BMW предпринимает шаги, чтобы владельцы не могли самостоятельно ремонтировать свои автомобили.
Особенно это ощущается на рынках с нехваткой дилерских центров, включая Россию, где владельцам автомобилей приходится полагаться на официальные сервисы для любых вмешательств в конструкцию и оснащение автомобиля.

BMW предпринимает шаги, чтобы владельцы не могли самостоятельно ремонтировать свои автомобили. 01
BMW предпринимает шаги, чтобы владельцы не могли самостоятельно ремонтировать свои автомобили. 02
BMW предпринимает шаги, чтобы владельцы не могли самостоятельно ремонтировать свои автомобили. 03